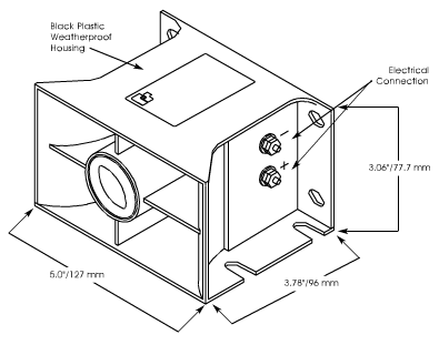
Audible Devices
253 Vehicular Back-up Alarm
- Operates on 12-48VDC power
- Universal mounting
- Produces 82dB-107dB @ 4' (92dB-120dB @ 1m)
- Type 4X enclosure
- UL Listed
Federal Signal's Model 253 is a unique backup alarm that samples the ambient noise levels surrounding the vehicle and adjusts its sound output automatically. The decibel output can vary from 82dB to 107dB @ 4 feet (92dB to 120dB @ 1m) when activated.
By "listening" to the surrounding sound levels, model 253 will continuously adjust the output to provide 10dB (±4) over ambient noise levels.
This self-adjusting vehicular alarm provides just the right level of audible signal required to warn employees of an approaching fork lift or tow motor.
This solid state device operates on 12-48VDC vehicle system voltage. The Model 253 emits sound at 80 pulses per minute. It is polarity protected and will not operate when incorrectly wired.
This backup alarm is completely sealed in a Type 4X housing. It complies with UL 583, recognized for use on Battery-Powered Industrial Trucks.
Federal Signal's Model 253 Backup Alarm operates as a "Smart" device, self-adjusting its sound output level to the decibel level necessary to be heard above current ambient noise levels.
Models
| Part # | Description | Ship Weight | Net Weight | |
|---|---|---|---|---|
| 253-012-048 | Back-up alarm, self adjusting volume, 12-48VDC | 1.54 lbs. | 1.44 lbs. | Add to Quote > |
Accessories
| Part # | Description | Ship Weight | |
|---|---|---|---|
| NOT APPLICABLE | |||
Agency
| Listed By Underwriter's Laboratory (ULus) | |
|---|---|
| Industrial truck accessories, battery powered - Component | YCFT2_AU1995.pdf |


